Facebook在去年F8大会上发布了未来10年的规划图,并对以后的VR/AR做出设想:未来十年,VR头盔会变成眼镜的级别,与AR技术相结合,集所有功能于一身的解决方案。
后来Facebook的招聘启示也证明了他们在招募新团队,打造眼镜级别的VR/AR新硬件。
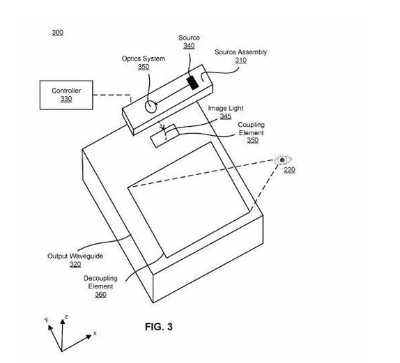
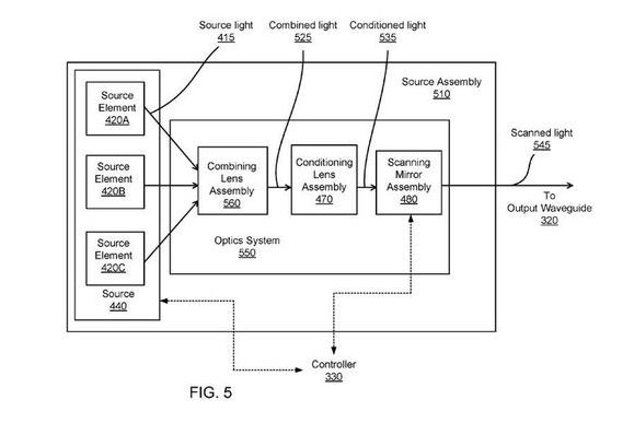
近日,Oculus高级研发部门的3名成员于提交了一份关于“配备二维扫描仪的波导显示屏”的专利申请。

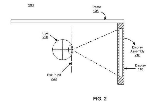
专利文件显示,这种显示屏“可以通过电脑生成的元素来增强现实世界的真实环境,并且可能被整合在一个可以佩戴在眼部的框架和显示屏组合装置中,向用户的眼睛展示媒体内容。

扎克伯格曾表示,VR和AR是能够取代智能手机和传统个人电脑的下一代重要计算平台。因此不惜重金斥资20+亿美元收购了Oculus,还计划投资数十亿美元开发这项技术。
据周四的专利申请文件称,Oculus开发的智能眼镜将使用一种波导显示屏,将光线直接投射到佩戴者的眼镜上,而不是传统的显示屏上。这种智能眼镜可以显示图像和视频,还能与连网的扬声器或耳机协同工作,以便在佩戴时播放音频。


Facebook对此未予置评。
Facebook使用波导技术的做法与微软和Magic Leap类似,后者开发的AR头盔和智能眼镜也采取了类似的技术。
实际上,这项专利技术的其中一位作者是Oculus光学科学家帕西-萨利克(Pasi Saarikko),他之前在微软负责HoloLens的光学设计工作,2015年加盟Facebook。
这项专利申请暗示Facebook智能眼镜的底层技术开发工作已经完成,虽然如此,但也别奢望很快就能看到正式产品。Oculus首席科学家迈克尔-阿布拉希(Michael)最近表示,AR智能眼镜至少要等到2022年才有可能取代智能手机。
他在今年早些时候召开的Facebook开发者大会上说:“我预计,从现在开始的20年到30年后,我们将不再随身携带时尚的智能手机,而是佩戴时尚的智能眼镜。那些智能眼镜将提供VR、AR以及介乎这两者之间的任何东西,我们以后每天都会使用它们。”
