2018年11月02日,谷歌眼镜或许没有如同谷歌所希望的那样成为热销产品,但这并不意味着他们停止开发更优秀的AR和VR技术。事实上,谷歌刚刚获批了一份通过眼动追踪摄像头来追踪面部表情的专利,而这对创建沉浸式VR体验而言将能带来非常重要的帮助。

专利名为“Classifying Facial Expressions Using Eye-Tracking Cameras(通过眼动追踪摄像头来分类面部表情),这项发明基本上是利用机器学习算法和眼睛追踪传感器来推断用户的表情。谷歌专利继续描述道,用户能够通过虚拟化身在虚拟世界中进行交互,而且借助这种技术,他们同时能呈现具体的面部表情。
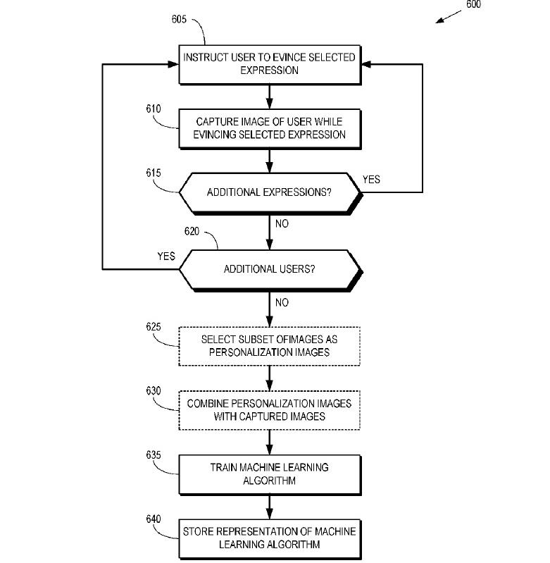
文件指出,由于VR头显往往会遮挡用户的面部,因此很难分辨出具体的面部表情。然而,可以利用机器学习算法训练系统以学习与愤怒,快乐,惊喜等相关的表情,也可以训练对眉毛和嘴唇运动的识别等等。
如此技术显然能够提升增强现实和虚拟现实的沉浸感。虚拟现实已经开始变得越来越普遍,如Oculus Rift,HTC Vive和谷歌Daydream等平台。尽管虚拟现实整体上仍处于起步阶段,但我们相信它在未来十年内可能会出现长足的进步。目前最大挑战的之一是,由于分辨率较低,性能不足,虚拟角色不够逼真等问题,VR的沉浸感仍有待提高。谷歌的新技术可以帮助实现逼真的用户化身,从而进一步带来身临其境的体验。
当然,专利并不一定意味着会投入使用,例如谷歌和苹果就有一系列在多年前申请的专利未予以实际利用。
