
近日,据外媒报道,美国专利商标局公布了一项关于苹果的专利申请,其涉及一种可用于将虚拟按键标签叠加到物理键盘上的触摸屏显示器。简单来说,屏幕上只会显示“虚拟文档”或屏幕保护程序的图像,而AR设备佩戴者则可以在同一位置看到实际文档的增强图像。
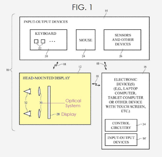
据悉,这项新专利产品是由头部安装显示器、虚拟键盘、摄像头、传感器等部件组成。其操作方式也很简单,用户只需要戴上头戴显示器,就可以进行打字或审查秘密文件。而在外人看来,用户的桌面上只会显示一个虚拟的文档,而没有任何的内容,这可以防止文件被泄密。

总之,苹果的这项新专利还是挺实用的,毕竟文件被泄密这种事情已经涉及到安全问题。如果应用到这项专利,不少公司都可以防止自己的重要信息被泄密,可以最大程度上降低风险。而有了这项专利,企业与企业间的合作也将更安全。而对于个人来说,其实也是可以合理保护自己的隐私,防止隐私被不法人士偷窥。
只不过,苹果历来都是先发布专利,而离正式实施还有一段时间。但是,从苹果的动作来看,这项新专利已经离我们不远了,毕竟其在3月已经成功申请了虚拟AR输入和触摸键盘的使用。可以预见,随着苹果AR新专利的实施,将一步保护个人用户和企业用户的隐私。
