过去两年时间,沃尔玛花了更多的钱投资电商,努力缩小与亚马逊之间的差距。收购电商 Jet、给电商商品降价之外,沃尔玛还申请了更多的相关专利,例如类似亚马逊 Dash Button 这样的一键下单按钮,以及卖生鲜。
根据沃尔玛最近一份专利文件显示,沃尔玛设想了一套机制,希望可以把消费者在线下挑选商品的过程复制到网上。
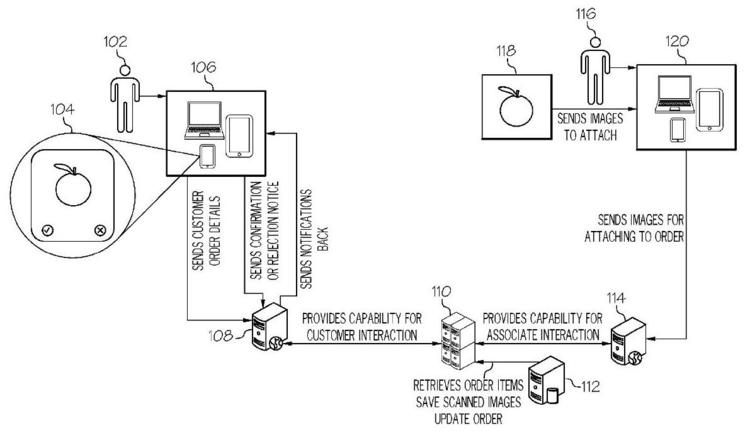
整个流程是这样的:当消费者下单买了水果等生鲜商品后,沃尔玛员工(或机器)将使用一种 3D 扫描技术,对商品进行拍照,再将照片发送给用户以供筛选。消费者如果对该件商品的照片不满意,在给定的一段时间内,可以选择拒绝该件商品,让沃尔玛员工提供另一件同款商品。

最终选定商品后,沃尔玛员工将给商品标记上可食用的标签,再将商品放入到消费者的包裹中,后续还是以门店自提或者是快递送货。
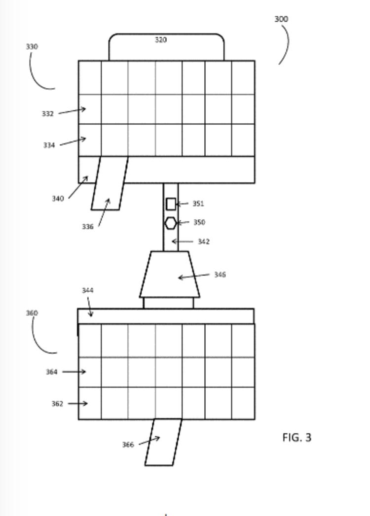
沃尔玛在专利中甚至还设计了一种特别的机器,专门用于给商品做 3D 扫描。机器上面的框可以容纳多种同款商品,例如桔子、香蕉都归类在一个个单独的格子里,在经过中间作 3D 扫描留下照片。
看上去,这种机制是帮沃尔玛的电商用户在筛选商品上有了更多选择,特别是针对新鲜度、保存和品相较高的生鲜类商品。

不过,沃尔玛希望消费者筛选具体商品,很难说有多少吸引力。即便是选定的商品,如果是物流速度不够快,商品的品相还是会有变化。另外,协商过程比较耗时,可能会增加沃尔玛的成本。
沃尔玛在电商上仍在继续投资,有不少研究、专利都是和亚马逊有点相似,例如沃尔玛也申请了一个类似于 Dash Button 这样的一键下单按钮专利,去年还把公司主体名字去掉了门店(store)一词。
